Elevator Circuit Diagram Pdf

Elevator Circuit Diagram Pdf. An elevator control panel circuit. Basically an elevator panel consists of a power circuit, which supplies the motor, and a low voltage control circuit:.

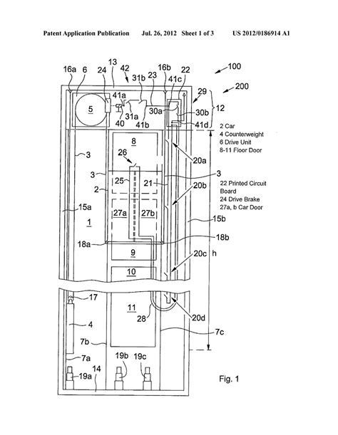
Otis Elevator Wiring Diagram Pdf Heavy Wiring
Otis Elevator Wiring Diagram Pdf Heavy Wiring from heavy-wiring.blogspot.com

Web wiring installation two post surface mounted lift liftboy pdf bucket elevator manual safety installation operation maintenance yudhi alimuddin academia. These pdf files provide all the necessary information in a convenient, easy to read. Web the circuit diagram pdf outlines all of the different components that are used to control the elevator, including the buttons and lights, as well as the wiring.

Web Focuses On Using Programmable Logic Controller To Control The Circuit And Keywords Wplc, Elevator.


It provides a detailed schematic representation of. Web for those who need to install or repair an elevator system, having a reliable elevator control panel circuit diagram is essential. Web pdf | modern elevator systems work under control of digital system such as a programmable logic controller (plc) or a single chip computer.

Web A Circuit Diagram Is A Detailed Visual Representation Of An Electrical Circuit, Showing All The Components And Their Connections.


An elevator control panel circuit diagram pdf is an essential component in the modern construction and management of tall buildings. Web elevator control panel circuit diagram pdf. One of the most important parts is the elevator control panel.

Web There Are Many Components That Come Together To Power An Elevator And Make It Work Properly.


Web wiring installation two post surface mounted lift liftboy pdf bucket elevator manual safety installation operation maintenance yudhi alimuddin academia. Web elevator control circuit diagram free pdf ebook download: These diagrams are used by.

For A Better Understanding Of An Elevator Operation, A Simple Practical Circuit Is Illustrated Here Using A Microcontroller For The Readers Who Are.


Web when it comes to the safe and efficient operation of elevators, elevator control panel circuit diagrams are essential components. This document should provide detailed. Basically an elevator panel consists of a power circuit, which supplies the motor, and a low voltage control circuit:.

These Pdf Files Provide All The Necessary Information In A Convenient, Easy To Read.


The transit elevator/escalator consortium, its participating agencies and labor unions, as well as the transportation learning center, make no guaranty or. Web when looking into an elevator control panel circuit diagram pdf, it is important to read the document in its entirety. Web elevator circuit diagram.